ID do Artigo : 00070914 / Última Modificação : 11/03/2025Imprimir

O que é Localização e função dos controles?

    O que é Localização e função dos controles?

    Modos Aplicáveis: MHC-GPX3

    Este manual explica, principalmente, as operações efetuadas utilizando o aparelho. No entanto, as mesmas operações também podem ser efetuadas através das teclas do controle remoto que tenham os mesmos nomes ou nomes semelhantes.

    Image

     

    · A tecla possui uma linha saliente. Pressione na linha saliente quando utilizar esta tecla

     

    Image

    Image

     

    Etapas

    1. (ligar o aparelho/modo de espera)

    Para ligar o aparelho ou ajustá-lo para o modo em espera.

    2. Aparelho: CD

    Controle remoto: CD DISC SKIP

    Para selecionar a função CD.

    Aparelho: USB

    Controle remoto: USB SELECT

    Para selecionar a função USB.

    TUNER/BAND

    Para selecionar a função TUNER.

    Para selecionar a faixa FM ou AM enquanto a função TUNER está ativa.

    Aparelho: AUDIO IN

    Para selecionar a função TV/DVD/SAT ou PC/GAME.

    Controle remoto: FUNCTION

    Para selecionar a função.

    3. Sensor do controle remoto

    4. Visor de informações

    5. Aparelho: MASTER VOLUME

    Para ajustar o volume.

    Controle remoto: VOLUME +/-*

    Para ajustar o volume.

    * A tecla VOLUME + possui um ponto saliente.

    Utilize este ponto como referência quando operar o aparelho.

    6. Aparelho:

    Para selecionar os itens do menu de opções.

    Controle remoto:

    Para selecionar os itens do menu do temporizador.

    +/- (selecionar pasta)

    Para selecionar uma pasta de um disco

    MP3 ou de um dispositivo USB.

    m/M (retroceder/avançar rapidamente)

    Mantenha pressionada para encontrar um determinado ponto em uma faixa ou arquivo durante a reprodução.

    (retroceder/avançar)

    Para selecionar uma faixa ou um arquivo.

    Aparelho: TUNING +/-

    Controle remoto: +/- (sintonizar)

    Para sintonizar a emissora de rádio desejada.

    ENTER

    Para introduzir os ajustes.

    7. OPEN/CLOSE

    Para inserir ou ejetar um disco.

    8. Aparelho: (reproduzir/pausar)

    Controle remoto: (reproduzir), (pausar)

    Para iniciar ou pausar a reprodução.

    Para retomar a reprodução do dispositivo

    USB, pressione ou .

    (parar)

    Para parar a reprodução.

    Pressione duas vezes para cancelar a retomada da reprodução do dispositivo

    USB.

    9. LED EFFECT

    Para mudar o padrão de iluminação do aparelho.

    10. BASS BAZUCA

    Para ativar ou desativar o efeito BASS BAZUCA.

    Aparelho: ROCK, HIP-HOP, LATIN EQ, EQ

    Controle remoto: EQ

    Para selecionar o efeito sonoro.

    11. REC TO USB

    Para transferir o conteúdo de um disco para o dispositivo USB conectado à porta .

    12. Porta (REC/PLAY) (USB)

    Para fazer a conexão e a transferência para um dispositivo USB.

    Indicador

    13. OPTIONS

    Para entrar ou sair dos menus de opções.

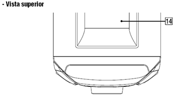
    14. Bandeja de disco

    15. SLEEP

    Para ativar o desligamento automático.

    16. TIMER MENU

    Para ajustar o relógio e os temporizadores.

    17. REPEAT/FM MODE

    Para ouvir um disco, um dispositivo USB, um arquivo ou uma faixa individual repetidamente.

    Para selecionar o modo de sintonização de FM (mono ou estéreo) (página 13).

    18. CLEAR

    Para apagar o último passo da lista programada.

    19. TUNER MEMORY

    Para memorizar a emissora de rádio.

    20. PLAY MODE/TUNING MODE

    Para selecionar o modo de reprodução de um disco AUDIO CD, MP3 ou um dispositivo USB.

    Para selecionar o modo de sintonização.

    21. DISPLAY

    Para mudar as informações exibidas no visor.

    DATA

    VERSÃO

    COMENTÁRIOS

    27/03/2013

    1.0

    · O conteúdo deste guia pode variar de acordo com o modelo do aparelho utilizado.

    · Consulte o Manual de Instruções que acompanha o aparelho para saber se as informações deste guia se aplicam ao modelo do seu produto.

    · O conteúdo deste guia é atualizado periodicamente verifique sempre a ultima versão disponível.